به گزارش خبرآنلاین، در حالت عادی، خودروهای برقی فقط گرما تولید میکنند و خبری از گازهای آلاینده یا شعلههای اگزوز نیست. اما در موارد نادر مثلاً هنگام تصادف یا نقص فنی در باتری ممکن است سلولهای باتری بیش از حد داغ شوند و وارد مرحلهای خطرناک به نام فرار حرارتی شوند. در این حالت، باتری آنقدر گرما تولید میکند که سیستم خنککننده از پس آن برنمیآید و در نتیجه، زنجیرهای از واکنشهای شیمیایی رخ میدهد که میتواند گازهای قابل اشتعال و در نهایت آتش ایجاد کند.
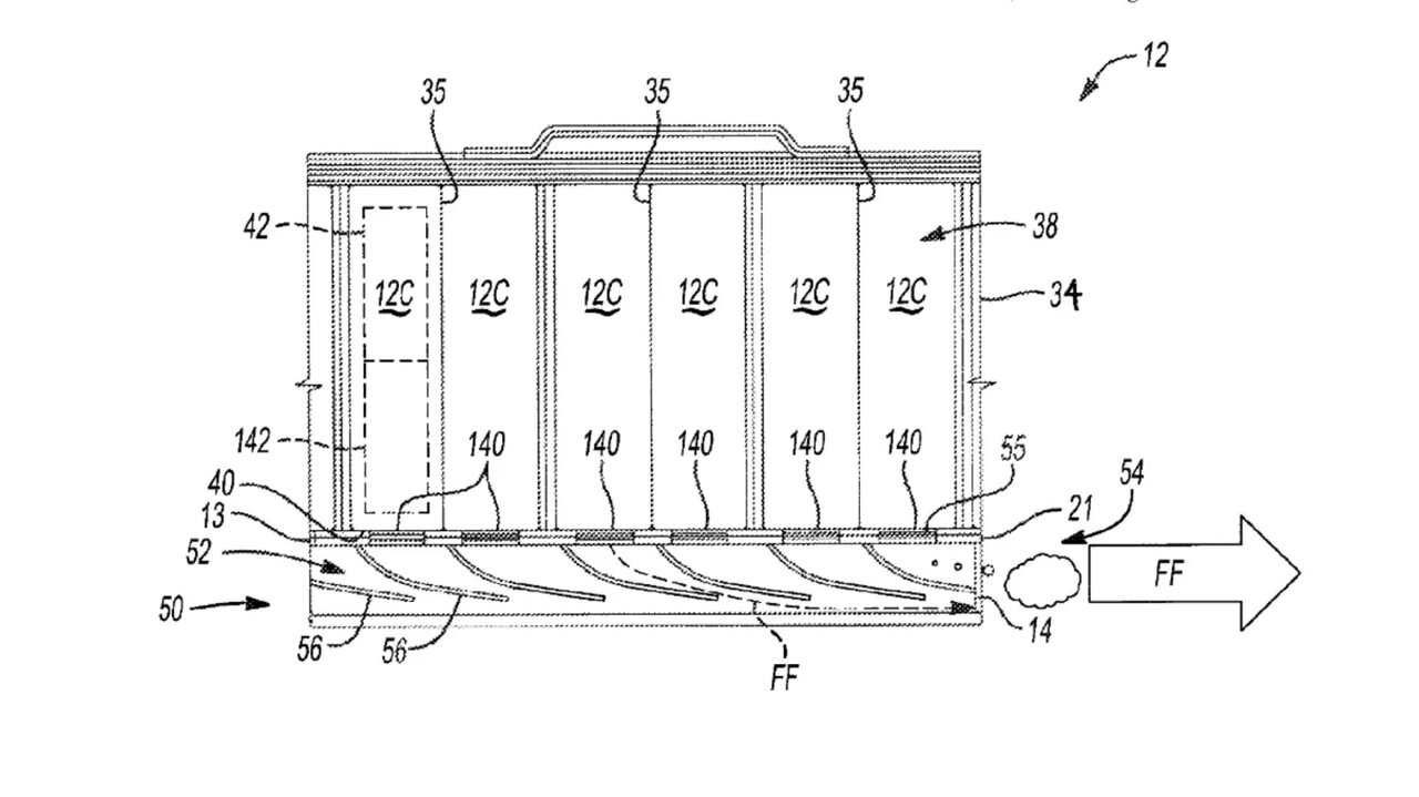
اینجاست که ابتکار جنرال موتورز وارد عمل میشود. در این سیستم، مجموعهای از سوپاپها و کانالها طراحی شدهاند که بهمحض آغاز فرار حرارتی، گازهای داغ و خطرناک را از داخل باتری خارج کرده و از طریق محفظههایی خاص، آنها را به بیرون خودرو هدایت میکنند بدون اینکه به سلولهای سالم یا بخشهای دیگر آسیب برسانند.
در واقع طرح جنرال موتورز بیشتر شبیه یک «شیر اطمینان اضطراری» است تا یک اگزوز معمولی. هرچند این سیستم میتواند از آتشسوزیهای فاجعهبار جلوگیری کند، اما نکتهای نگرانکننده وجود دارد. گازهای تخلیهشده هنوز هم قابل اشتعال هستند و ممکن است در صحنه تصادف یا درون پارکینگ، خود تهدیدی تازه ایجاد کنند. شرکت Stellantis نیز ایده مشابهی ثبت کرده اما به جای اگزوز یک فیلتر شیمیایی (شبیه کاتالیزور) برای تصفیه این گازها افزوده است.

ایدهی جنرال موتورز شاید ساده بهنظر برسد، اما نگاهی واقعگرایانه به خطرات پنهان خودروهای برقی دارد. به این ترتیب در دنیایی که همهچیز الکتریکی میشود، ما همچنان به نسخهای مدرن از همان «اگزوز» قدیمی نیاز داریم که البته نه برای صدا یا دود، بلکه برای ایمنی خواهد بود.
منبع: درایو
۵۸۵۸






نظر شما